Product Summary
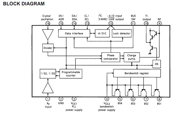
The TD7624AFN is a 3-wire and I2C bus system. The TD7624AFN can be combined with a micro CPU to create a highly functional frequency synthesizer. The control data conforms to 3-wire bus and standard I2C bus formats. BUS-SW can be used to easily switch for easy tuner system set-up.
Parametrics
TD7624AFN absolute maximum ratings: (1)Supply Voltage 1 VCC1: 6.0 V; (2)Supply Voltage 2 VCC2: 12 V; (3)Power Consumption PD: 560 mW; (4)Operating Temperature Topr: -20~85℃; (5)Storage Temperature Tstg: -55~150℃.
Features
TD7624AFN features: (1)Direct two modulus-type frequency synthesizer; (2)Standard I2C bus format control with built-in read mode; (3)3-wire bus format control; (4)18-bit and 19-bit automatic discrimination circuit (when 3-wire bus selected); (5)4-bit bandswitch drive transistor; (6)5-level A / D converter (when I2C bus selected); (7)Frequency Step : 31.25 kHz, 50 kHz and 62.5kHz (at 4 MHz Xtal used); (8)Phase lock detector; (9)Four address settings via address selector (when I2C bus selected); (10)Power on reset circuit; (11)Flat, compact package : SSOP16 (0.65 mm pitch) .
Diagrams

| Image | Part No | Mfg | Description | ![]() |
Pricing (USD) |
Quantity | ||||
|---|---|---|---|---|---|---|---|---|---|---|
![]() |
![]() TD7624AFN |
![]() Other |
![]() |
![]() Data Sheet |
![]() Negotiable |
|
||||
![]() |
![]() TD7624AFNG |
![]() Other |
![]() |
![]() Data Sheet |
![]() Negotiable |
|
||||
(China (Mainland))









